據媒體報道,近日,“與輝同行”直播帶貨的“大別山黃油母雞”引發行業廣泛質疑。六安市麻黃雞產業協會于1月9日召開一屆三次會長辦公會,并發布鄭重聲明,直指該直播間產品存在虛構品種誤導市場等多項問題。
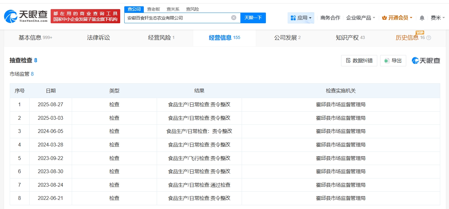
天眼查工商信息顯示,該食品委托商安徽百食軒生態農業有限公司成立于2019年5月,法定代表人為趙光星,注冊資本2000萬人民幣,經營范圍包括食品生產、動物飼養、漁業捕撈等。股東信息顯示,該公司由趙光星、趙明偉、趙明望共同持股。天眼風險信息顯示,該公司曾因生產經營不符合法律、法規或者食品安全標準的食品、食品添加劑的行為,被霍邱縣市場監督管理局罰款1.5萬元,沒收違法所得220元。此外,該公司曾被霍邱縣市場監督管理局多次責令整改。
此外,該食品生產商安徽華鼎食品有限公司成立于2017年3月,法定代表人為姚浩峰,注冊資本500萬人民幣,經營范圍包括家禽飼養、道路貨物運輸、牲畜屠宰等。股東信息顯示,該公司由姚中華全資持股。
























