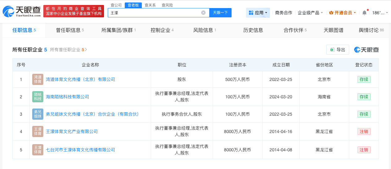
據報道,近日,短道速滑奧運冠軍王濛擬被破格晉升,相關話題引發關注。
天眼查任職信息顯示,王濛名下關聯5家企業,包括灣道體育文化傳播(北京)有限公司、海南陌銘科技有限公司、弟兄姐妹文化傳播(北京)合伙企業(有限合伙)等,王濛在上述企業中擔任法定代表人、執行董事兼總經理職務,版圖涉及體育文化、科技等領域。
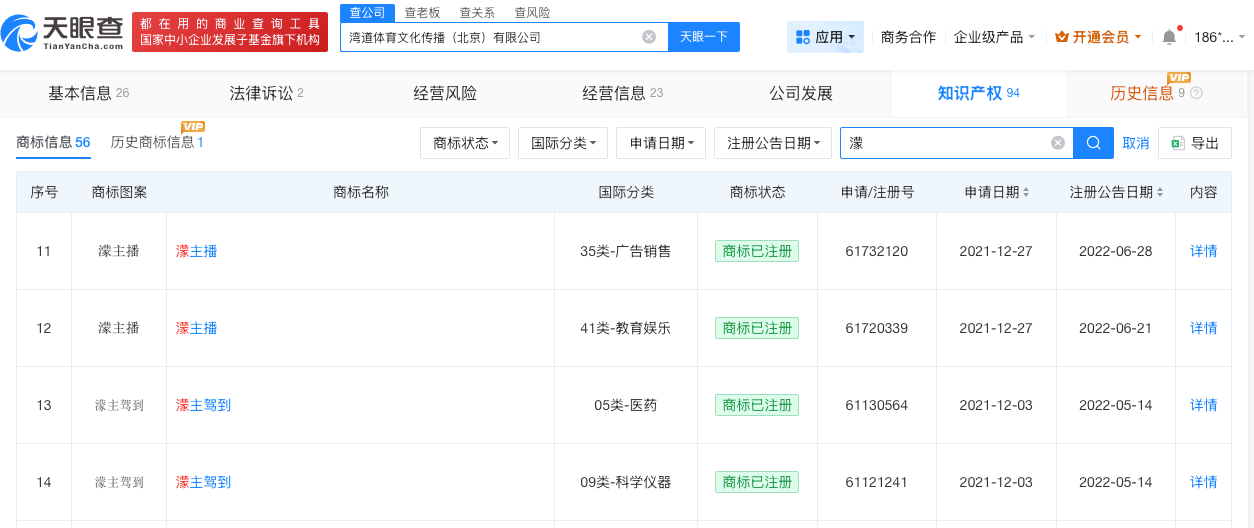
其中,灣道體育文化傳播(北京)有限公司由王濛持股89%。該公司還持有"王濛""濛主播""濛主駕到"等多枚商標。


據報道,近日,短道速滑奧運冠軍王濛擬被破格晉升,相關話題引發關注。
天眼查任職信息顯示,王濛名下關聯5家企業,包括灣道體育文化傳播(北京)有限公司、海南陌銘科技有限公司、弟兄姐妹文化傳播(北京)合伙企業(有限合伙)等,王濛在上述企業中擔任法定代表人、執行董事兼總經理職務,版圖涉及體育文化、科技等領域。
其中,灣道體育文化傳播(北京)有限公司由王濛持股89%。該公司還持有"王濛""濛主播""濛主駕到"等多枚商標。

