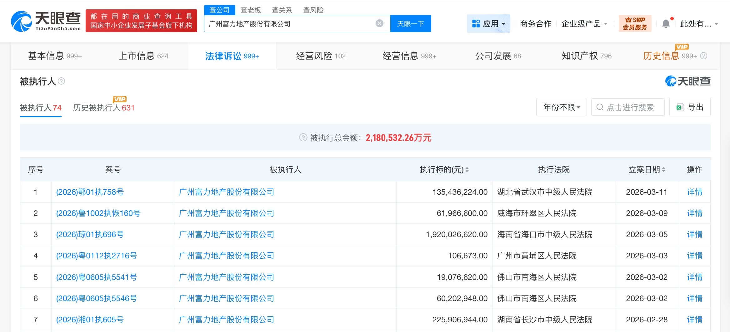
天眼查法律訴訟信息顯示,近日,廣州富力地產股份有限公司、武漢東西湖富力房地產開發有限公司等新增一則被執行人信息,執行標的約1.35億余元,執行法院為湖北省武漢市中級人民法院。
廣州富力地產股份有限公司成立于1994年8月,法定代表人為李思廉,注冊資本約37.5億人民幣,經營范圍包括房地產開發經營、酒店管理等。股東信息顯示,該公司由李思廉、張力、陳量暖等共同持股。天眼風險信息顯示,該公司現存70余條被執行人信息,被執行總金額超200億元。此外,該公司還存在限制消費令、失信被執行人(老賴)及終本案件信息。























