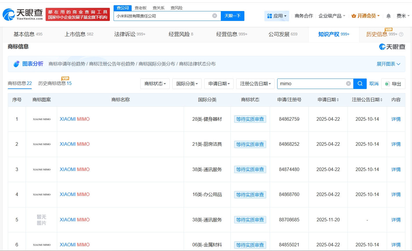
天眼查知識產權信息顯示,近日,小米科技有限責任公司登記“Xiaomi MiMo標識設計”作品著作權,作品類別為美術。此前,該公司已申請注冊多枚“XIAOMI MIMO”商標。
小米科技有限責任公司成立于2010年3月,法定代表人為雷軍,注冊資本18.5億人民幣,經營范圍包括通訊設備銷售、廚具衛具及日用雜品批發、廚具衛具及日用雜品零售等。股東信息顯示,該公司由雷軍、黎萬強、洪鋒、劉德共同持股。據媒體報道,此前,小米正式發布并開源了全新基礎語言模型MiMo-V2-Flash,引發多方關注。




天眼查知識產權信息顯示,近日,小米科技有限責任公司登記“Xiaomi MiMo標識設計”作品著作權,作品類別為美術。此前,該公司已申請注冊多枚“XIAOMI MIMO”商標。
小米科技有限責任公司成立于2010年3月,法定代表人為雷軍,注冊資本18.5億人民幣,經營范圍包括通訊設備銷售、廚具衛具及日用雜品批發、廚具衛具及日用雜品零售等。股東信息顯示,該公司由雷軍、黎萬強、洪鋒、劉德共同持股。據媒體報道,此前,小米正式發布并開源了全新基礎語言模型MiMo-V2-Flash,引發多方關注。



