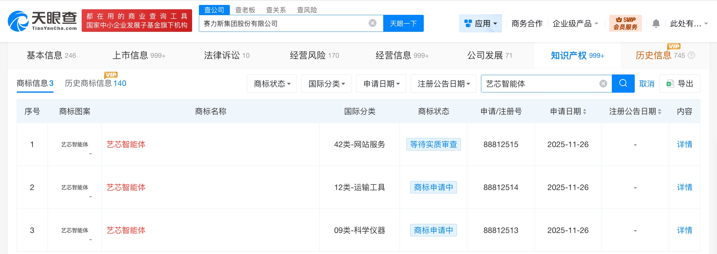
天眼查知識產權信息顯示,近日,賽力斯集團股份有限公司申請注冊3枚“藝芯智能體”商標,國際分類為科學儀器、運輸工具、網站服務,當前商標狀態均為等待實質審查。
賽力斯集團股份有限公司成立于2007年5月,法定代表人為張正萍,注冊資本約16.3億人民幣,經營范圍含制造、銷售汽車零部件、機動車輛零部件、普通機械、電器機械、電器、電子產品等。股東信息顯示,該公司由重慶小康控股有限公司、東風汽車集團有限公司、重慶渝安汽車工業有限公司等共同持股。



天眼查知識產權信息顯示,近日,賽力斯集團股份有限公司申請注冊3枚“藝芯智能體”商標,國際分類為科學儀器、運輸工具、網站服務,當前商標狀態均為等待實質審查。
賽力斯集團股份有限公司成立于2007年5月,法定代表人為張正萍,注冊資本約16.3億人民幣,經營范圍含制造、銷售汽車零部件、機動車輛零部件、普通機械、電器機械、電器、電子產品等。股東信息顯示,該公司由重慶小康控股有限公司、東風汽車集團有限公司、重慶渝安汽車工業有限公司等共同持股。


