據媒體報道,2月4日早間,大潤發母公司高鑫零售在港交所發布公告稱,公司暫時與CEO李衛平無法取得聯系。這也意味著這位剛剛入職僅兩個月的上市公司CEO“失聯”了。
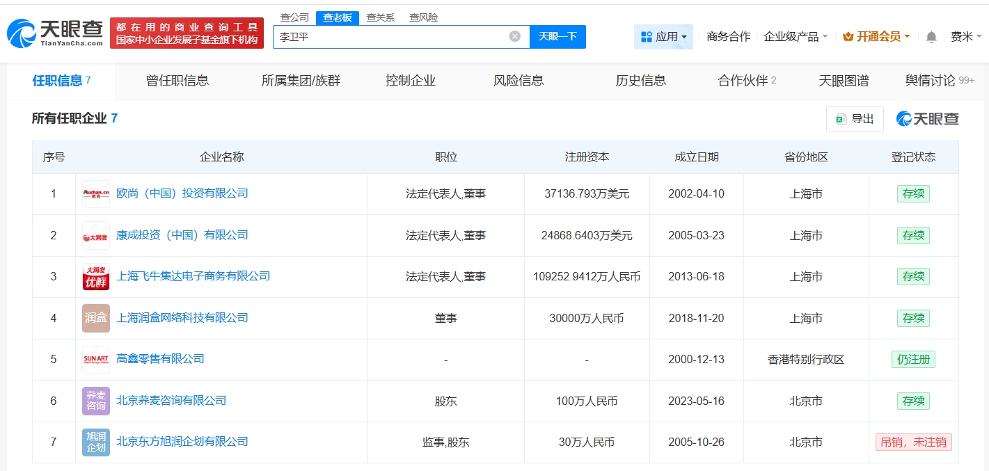
天眼查任職信息顯示,李衛平名下關聯7家企業,其中6家處于存續或者仍注冊狀態,包括高鑫零售有限公司、康成投資(中國)有限公司、上海潤盒網絡科技有限公司等,李衛平在上述企業擔任法定代表人、董事等職務,北京東方旭潤企劃有限公司處于被吊銷狀態。

據媒體報道,2月4日早間,大潤發母公司高鑫零售在港交所發布公告稱,公司暫時與CEO李衛平無法取得聯系。這也意味著這位剛剛入職僅兩個月的上市公司CEO“失聯”了。
天眼查任職信息顯示,李衛平名下關聯7家企業,其中6家處于存續或者仍注冊狀態,包括高鑫零售有限公司、康成投資(中國)有限公司、上海潤盒網絡科技有限公司等,李衛平在上述企業擔任法定代表人、董事等職務,北京東方旭潤企劃有限公司處于被吊銷狀態。
