天眼查法律訴訟信息顯示,近日,中航證券有限公司新增一則股權凍結信息,被執行人為中航投資控股有限公司,凍結股權數額約16.1億人民幣,凍結期限為3年,執行法院為北京市第三中級人民法院。
該公司成立于2002年10月,法定代表人為戚俠,注冊資本約73.3億人民幣,經營范圍包括證券經紀、證券投資咨詢、證券承銷與保薦等,由中航投資控股有限公司、中航工業產融控股股份有限公司共同持股。



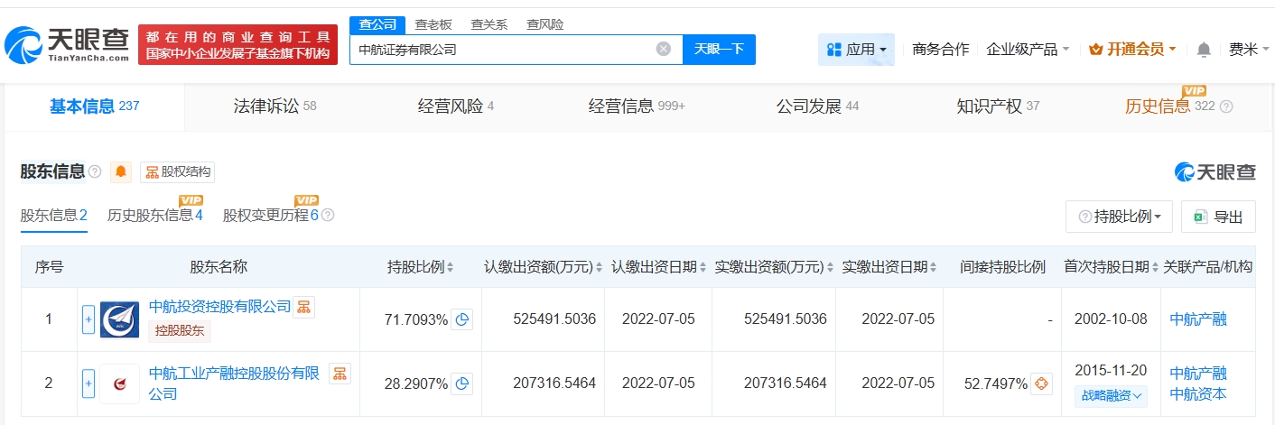
天眼查法律訴訟信息顯示,近日,中航證券有限公司新增一則股權凍結信息,被執行人為中航投資控股有限公司,凍結股權數額約16.1億人民幣,凍結期限為3年,執行法院為北京市第三中級人民法院。
該公司成立于2002年10月,法定代表人為戚俠,注冊資本約73.3億人民幣,經營范圍包括證券經紀、證券投資咨詢、證券承銷與保薦等,由中航投資控股有限公司、中航工業產融控股股份有限公司共同持股。


