據媒體報道,近日,叮咚買菜發布公告稱,創始人梁昌霖辭任CEO,王松接任CEO并辭去CFO職務。
天眼查任職信息顯示,梁昌霖名下關聯52家企業,其中20余家企業處于存續狀態,包括上海壹佰米網絡科技有限公司、吃之以恒(南京)供應鏈有限公司、上海雨生百谷食品有限公司等,梁昌霖在上述企業擔任執行董事、監事等職務,其他20余家企業已注銷。

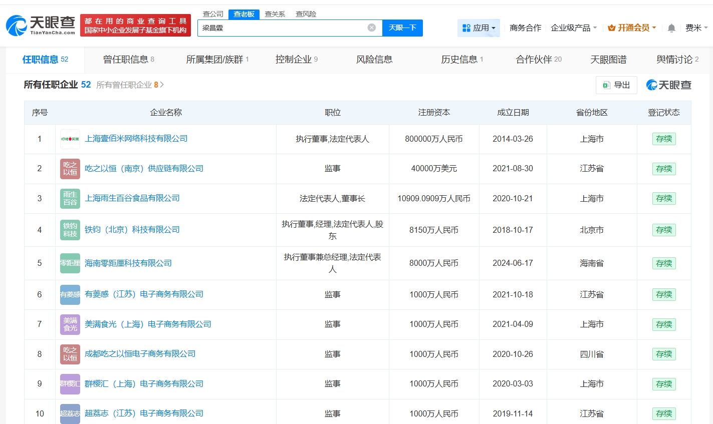
據媒體報道,近日,叮咚買菜發布公告稱,創始人梁昌霖辭任CEO,王松接任CEO并辭去CFO職務。
天眼查任職信息顯示,梁昌霖名下關聯52家企業,其中20余家企業處于存續狀態,包括上海壹佰米網絡科技有限公司、吃之以恒(南京)供應鏈有限公司、上海雨生百谷食品有限公司等,梁昌霖在上述企業擔任執行董事、監事等職務,其他20余家企業已注銷。
