據媒體報道,近日,絲芭傳媒向國家稅務總局上海市稅務局稽查局實名舉報鞠婧祎涉嫌偷稅漏稅。
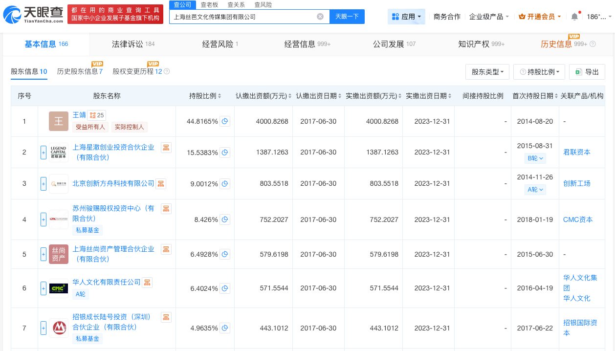
天眼查App顯示,絲芭傳媒關聯公司上海絲芭文化傳媒集團有限公司成立于2010年5月,法定代表人為王靖,注冊資本約8927萬人民幣,經營范圍包括營業性演出、演出經紀、廣播電視節目制作經營等。股東信息顯示,該公司由王靖、上海星澈創業投資合伙企業(有限合伙)、北京創新方舟科技有限公司等共同持股。年報信息顯示,該公司參保人數從2023年的209人降至2024年的71人,2025年進一步降至2人。



據媒體報道,近日,絲芭傳媒向國家稅務總局上海市稅務局稽查局實名舉報鞠婧祎涉嫌偷稅漏稅。
天眼查App顯示,絲芭傳媒關聯公司上海絲芭文化傳媒集團有限公司成立于2010年5月,法定代表人為王靖,注冊資本約8927萬人民幣,經營范圍包括營業性演出、演出經紀、廣播電視節目制作經營等。股東信息顯示,該公司由王靖、上海星澈創業投資合伙企業(有限合伙)、北京創新方舟科技有限公司等共同持股。年報信息顯示,該公司參保人數從2023年的209人降至2024年的71人,2025年進一步降至2人。


