據媒體報道,近日,葉璇出演的短劇《少夫人來自東北》觀看量、熱度值雙破億,相關話題引發關注。
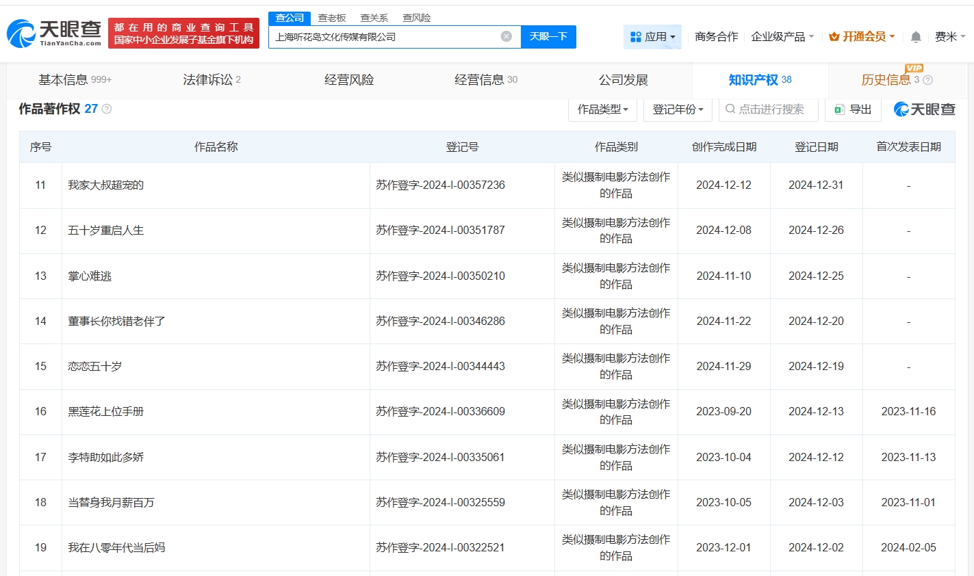
天眼查App顯示,該劇出品方聽花島關聯公司上海聽花島文化傳媒有限公司成立于2023年4月,法定代表人為趙晨,注冊資本100萬人民幣,經營范圍包括組織文化藝術交流活動、廣播電視節目制作經營、電影攝制服務等。股東信息顯示,該公司由趙晨、李薈琴共同持股。知識產權信息顯示,該公司曾登記“我在八零年代當后媽”、“家里家外2”等多款熱播短劇作品著作權。




據媒體報道,近日,葉璇出演的短劇《少夫人來自東北》觀看量、熱度值雙破億,相關話題引發關注。
天眼查App顯示,該劇出品方聽花島關聯公司上海聽花島文化傳媒有限公司成立于2023年4月,法定代表人為趙晨,注冊資本100萬人民幣,經營范圍包括組織文化藝術交流活動、廣播電視節目制作經營、電影攝制服務等。股東信息顯示,該公司由趙晨、李薈琴共同持股。知識產權信息顯示,該公司曾登記“我在八零年代當后媽”、“家里家外2”等多款熱播短劇作品著作權。



