天眼查App顯示,近日,智元創新(上海)科技股份有限公司新增一則行政許可,許可內容為企業境外投資,許可機關為上海市浦東新區商務委員會。
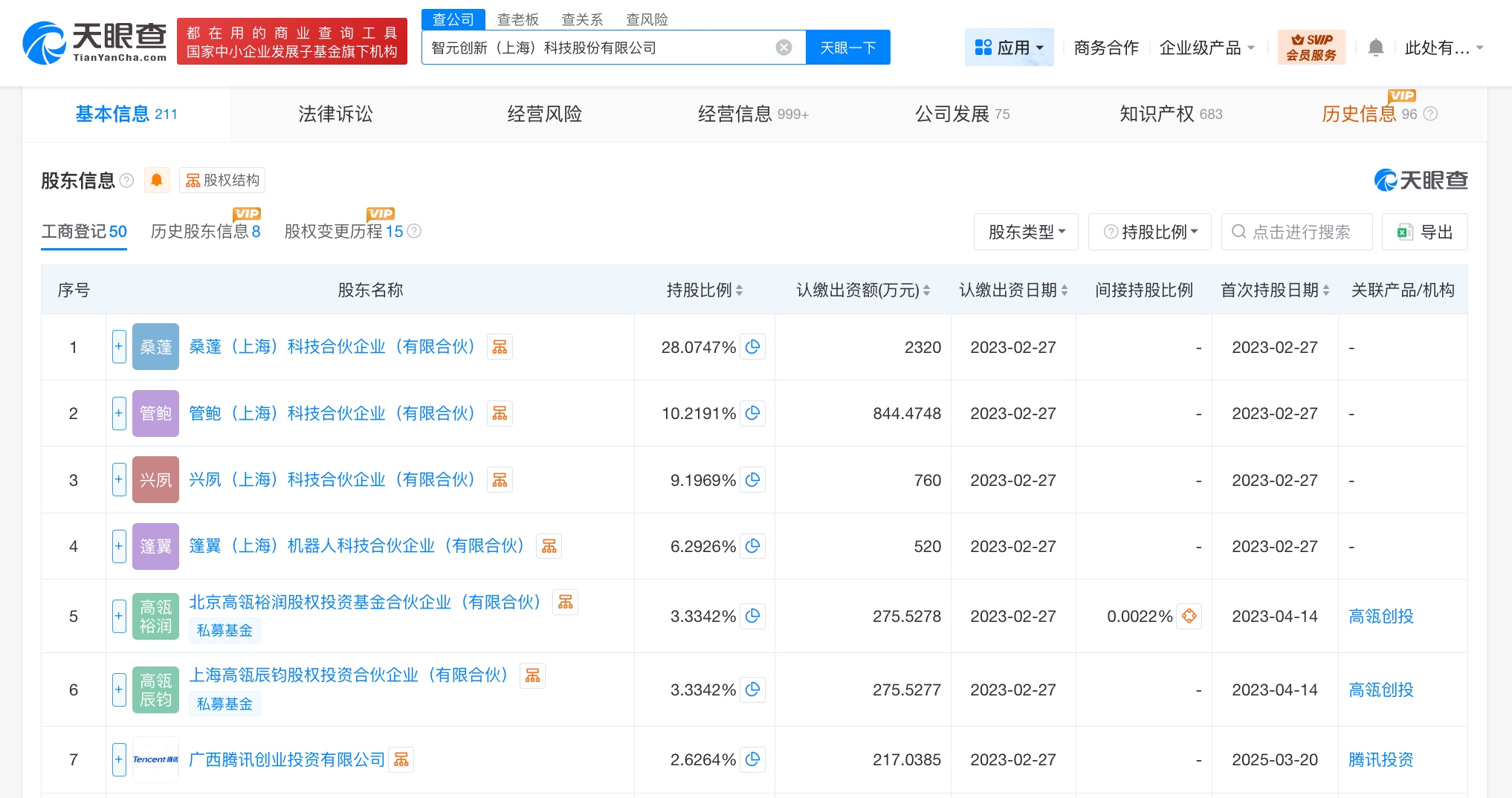
智元創新(上海)科技股份有限公司成立于2023年2月,法定代表人為鄧泰華,注冊資本約9128萬人民幣,經營范圍含智能機器人的研發、服務消費機器人銷售、智能機器人銷售、人工智能理論與算法軟件開發、人工智能基礎軟件開發、人工智能公共數據平臺等。股東信息顯示,該公司由桑蓬(上海)科技合伙企業(有限合伙)、管鮑(上海)科技合伙企業(有限合伙)、廣西騰訊創業投資有限公司等共同持股。























