天眼查天眼風險信息顯示,近日,內蒙古蒙牛乳業(集團)股份有限公司新增一則被執行人信息,執行標的500萬人民幣,執行法院為江蘇省南京市中級人民法院。
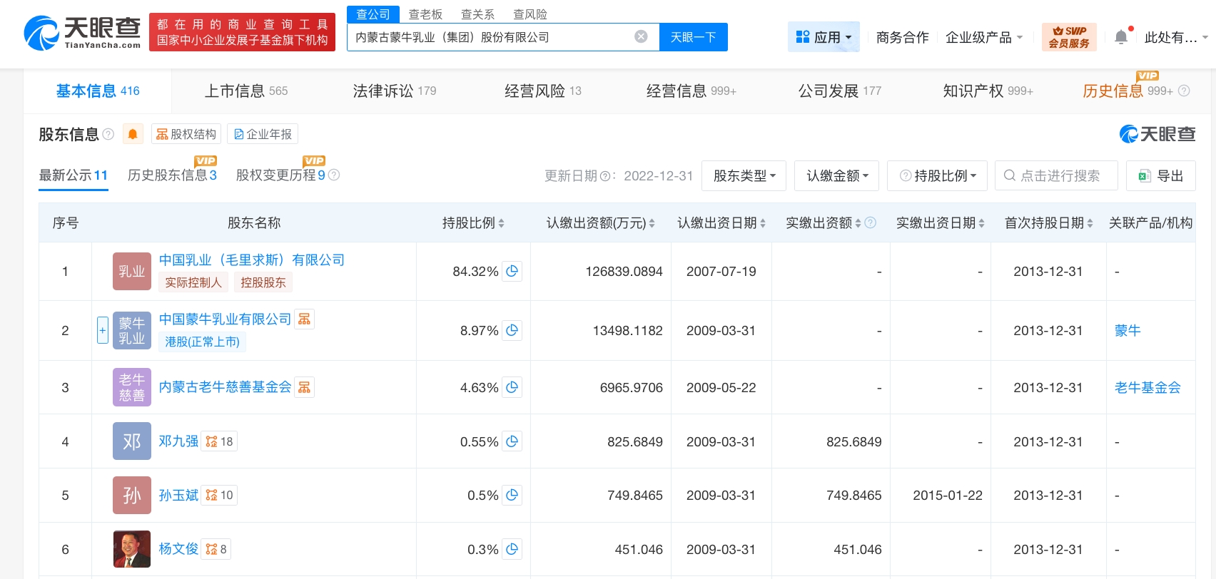
工商信息顯示,內蒙古蒙牛乳業(集團)股份有限公司成立于1999年8月,法定代表人為高飛,注冊資本約15億人民幣,經營范圍含乳制品生產、食品生產、食品添加劑生產、動物飼養、飲料生產、食品銷售等。股東信息顯示,該公司由中國乳業(毛里求斯)有限公司、中國蒙牛乳業有限公司、內蒙古老牛慈善基金會等共同持股。



天眼查天眼風險信息顯示,近日,內蒙古蒙牛乳業(集團)股份有限公司新增一則被執行人信息,執行標的500萬人民幣,執行法院為江蘇省南京市中級人民法院。
工商信息顯示,內蒙古蒙牛乳業(集團)股份有限公司成立于1999年8月,法定代表人為高飛,注冊資本約15億人民幣,經營范圍含乳制品生產、食品生產、食品添加劑生產、動物飼養、飲料生產、食品銷售等。股東信息顯示,該公司由中國乳業(毛里求斯)有限公司、中國蒙牛乳業有限公司、內蒙古老牛慈善基金會等共同持股。


