近日,有消息稱王一博與樂華娛樂續約,引發關注。
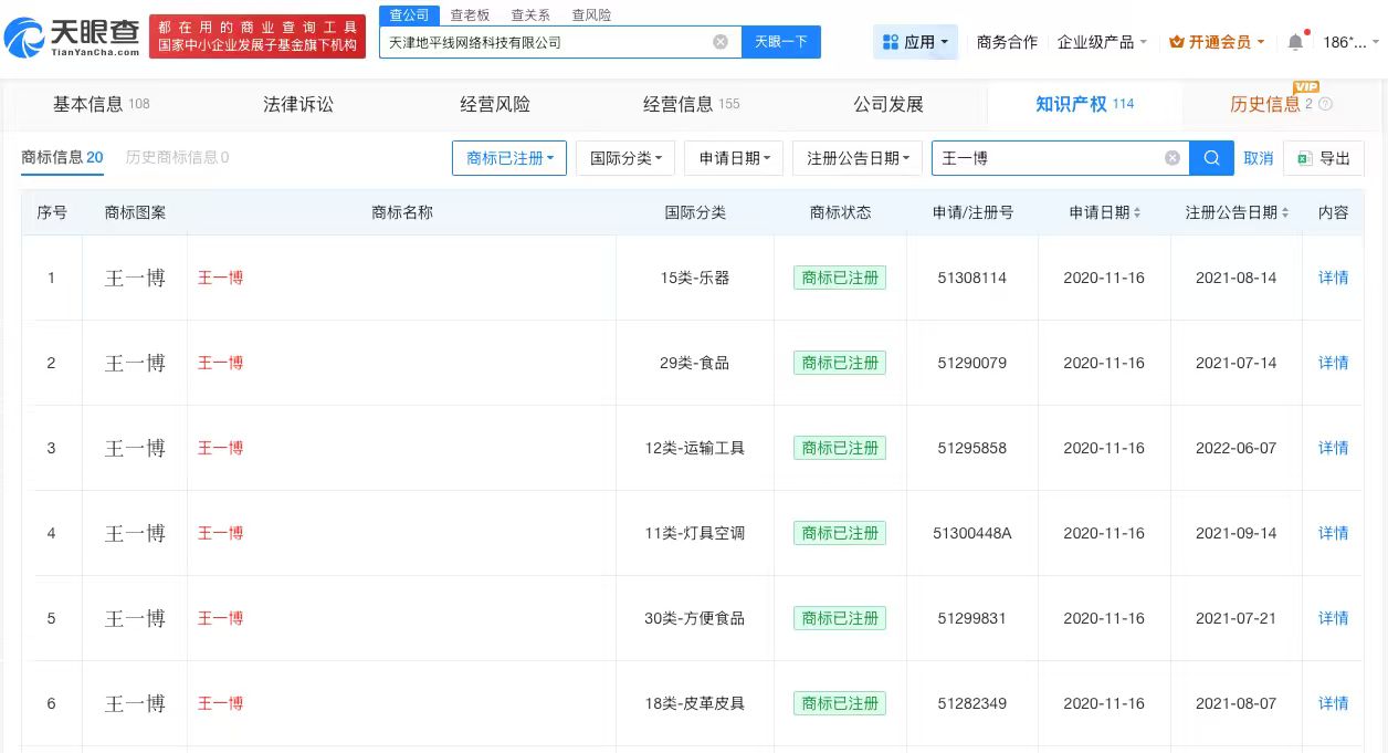
天眼查App顯示,王一博名下天津地平線網絡科技有限公司已申請注冊“王一博”相關商標,國際分類涉及樂器、食品、運輸工具等,當前商標狀態多為已注冊。而樂華娛樂關聯北京樂華圓娛文化傳播有限公司名下并無“王一博”相關商標。
此外,樂華娛樂(02306.HK)招股書曾披露,王一博為樂華訓練生計劃畢業生,藝人管理合同初始期限為2014年10月至2022年10月,已續期四年至2026年10月止。

近日,有消息稱王一博與樂華娛樂續約,引發關注。
天眼查App顯示,王一博名下天津地平線網絡科技有限公司已申請注冊“王一博”相關商標,國際分類涉及樂器、食品、運輸工具等,當前商標狀態多為已注冊。而樂華娛樂關聯北京樂華圓娛文化傳播有限公司名下并無“王一博”相關商標。
此外,樂華娛樂(02306.HK)招股書曾披露,王一博為樂華訓練生計劃畢業生,藝人管理合同初始期限為2014年10月至2022年10月,已續期四年至2026年10月止。
