在智能座艙交互領域,寶馬近日公布了一項頗具創新性的車載交互專利,這項技術有望為駕駛者解決行車過程中盲操作觸摸屏易誤觸的難題,為行業帶來新的交互解決方案。

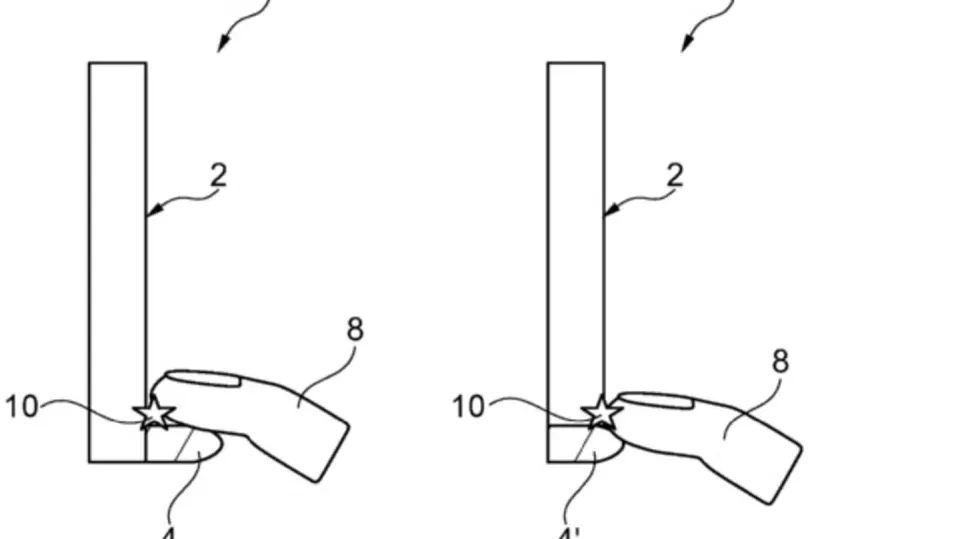
該專利的核心設計是在車載屏幕邊緣添加一條僅幾毫米高的觸摸感應條。這一小巧的設計既不會對屏幕顯示內容造成遮擋,也不會破壞座艙的整體美觀。在行車過程中,車輛顛簸常常導致駕駛者手指懸空晃動,難以精準操作觸摸屏,而這條感應條恰好能為手指提供物理支撐,有效解決這一問題。
為進一步提升操作精準度,感應條表面精心設計了與屏幕虛擬按鍵一一對應的凹槽。這種設計借鑒了傳統機械按鍵的觸覺反饋邏輯,駕駛者無需轉移視線,僅通過指尖觸感就能快速定位到所需的虛擬按鍵,實現精準盲操作,大大降低了誤觸的可能性。
除了物理結構的優化,該專利還引入了多模態反饋機制。當駕駛者手指觸及感應條對應區域并完成操作指令時,系統會同時觸發震動、聲音和燈光反饋。這種三重反饋模式讓駕駛者能夠清晰感知操作已生效,無需反復查看屏幕確認,既提高了操作效率,又減少了因視線轉移帶來的行車安全隱患。
在材料選擇上,感應條采用了壓電陶瓷材料,這種材料在保證觸摸靈敏度的同時,還具備出色的防水防塵性能,能夠適應車載環境的復雜需求。其模塊化設計使其可以與不同尺寸的車載曲面屏幕適配,未來有望廣泛應用于寶馬全系車型。
當前,車載信息娛樂系統普遍采用全觸控設計,雖然提升了功能集成度,但也帶來了盲操作困難、誤觸率偏高等問題,尤其在復雜路況下更為突出。寶馬的這項新專利精準地針對這一痛點,通過簡單實用的結構設計,兼顧了科技感與實用性,推動車載人機交互朝著更安全、更便捷的方向發展。目前,該專利尚未明確量產時間,但已為行業解決車載觸控盲操作難題提供了全新思路。














