天眼查工商信息顯示,近日,河北邢州農村商業銀行股份有限公司發生工商變更,注冊資本由約8.28億人民幣增至約8.45億人民幣。
該公司成立于2007年1月,法定代表人為田海濤,經營范圍包括吸收公眾存款,發放短期、中期和長期貸款,辦理國內結算,辦理票據承兌與貼現等。股東信息顯示,該公司由邢臺市德源房地產開發有限公司、邢臺未來商貿有限公司、沙河市海生玻璃有限公司、邢臺旺鑫工貿有限公司等共同持股。



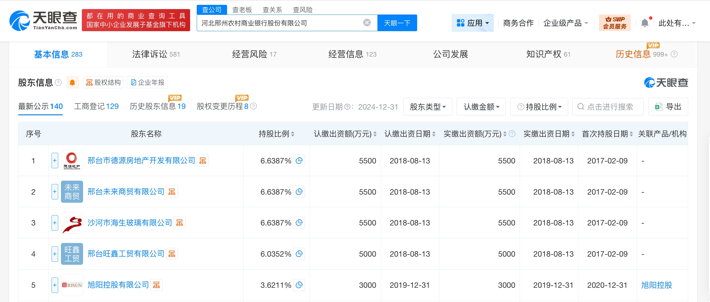
天眼查工商信息顯示,近日,河北邢州農村商業銀行股份有限公司發生工商變更,注冊資本由約8.28億人民幣增至約8.45億人民幣。
該公司成立于2007年1月,法定代表人為田海濤,經營范圍包括吸收公眾存款,發放短期、中期和長期貸款,辦理國內結算,辦理票據承兌與貼現等。股東信息顯示,該公司由邢臺市德源房地產開發有限公司、邢臺未來商貿有限公司、沙河市海生玻璃有限公司、邢臺旺鑫工貿有限公司等共同持股。


