天眼查App顯示,近日,海爾新能源科技股份有限公司發生工商變更,注冊資本由約3.4億人民幣增至約4億人民幣,增幅約18%。
該公司成立于2022年5月,法定代表人為董增,經營范圍包括新興能源技術研發、發電業務、光伏發電設備租賃等,由青島納暉控股有限公司、中國石油集團昆侖資本有限公司、中央企業鄉村產業投資基金股份有限公司等共同持股。



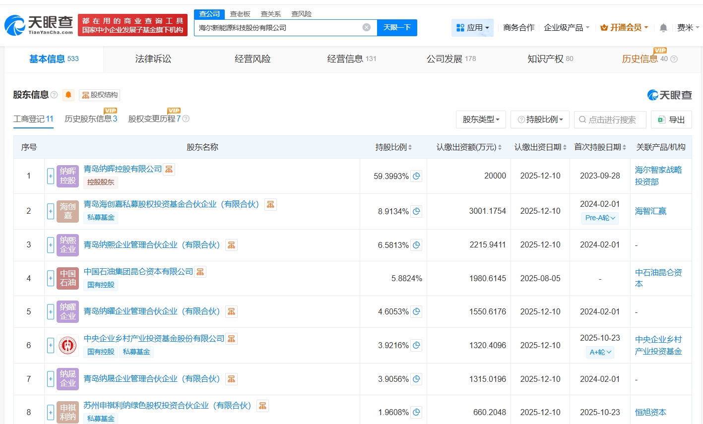
天眼查App顯示,近日,海爾新能源科技股份有限公司發生工商變更,注冊資本由約3.4億人民幣增至約4億人民幣,增幅約18%。
該公司成立于2022年5月,法定代表人為董增,經營范圍包括新興能源技術研發、發電業務、光伏發電設備租賃等,由青島納暉控股有限公司、中國石油集團昆侖資本有限公司、中央企業鄉村產業投資基金股份有限公司等共同持股。


